RU UA EN

Конструкція санітарних модулів

Конструкція модулів-регуляторів типу АР і АРД

Устройство модулей-регуляторов типа АР и АРД

  • По збірно-розподільчим трубам (1), розташованим в нижній частині модуля і виконуючим функцію поєднуючого елемента котельної установки, протікає гаряча вода, що подається в систему, і "зворотня" вода, що витікає з системи.
  • Насос (2) здійснює циркуляцію води в системі опалення. Насос подвоєний, працює завжди один насос, другий є резервним, він включається в роботу автоматично у випадку вихода з ладу основного.
  • Трьохходовий клапан з виконуючим механізмом (3) регулює температуру води, що подається в систему, шляхом підмішування частини води, що вертається знову на циркуляцію в систему, мимо модулів нагріву.
  • Команду на виконавчий механізм трьохходового клапану подає електронний регулятор температури (4), який видає сигнал в залежності від температури зовнішнього повітря, що сприймає датчик зовнішньої температури 5, температури води, що подається
  • Циферблатні покажчики температури (7) показують температуру води, що подається і вертається.
  • До фланця патрубка подаючого трубопроводу (8) підключається подаючий трубопровід опалювальної системи. До фланця зворотнього патрубка (9) підключається зворотній трубопровід опалювальної системи.
  • Газовий трубопровід (10) забезпечує проходження газу транзитом через модуль і є з'єднувальним элементом котельної установки.
  • і
  • Двері (11) надають модулю декоративний вигляд і забезпечують можливість доступу до елементів модуля.
  • Шафа електрична (12) містить пристрої, що забезпечують роботу електричної частини модуля. Модуль отримує електроживлення від центральної шафи головного розподільчого щита електроуправління котельної установки.
  • Метеликові клапани (13) зпрощують роз'єднання окремих пристроїв модуля.
  • Фільтр (14) здійснює очищення води, що вертається з системи.

  • Конструкція модулів постійної температури типу АТС і АТСД


    Устройство модулей постоянной температуры АТС и АТСД

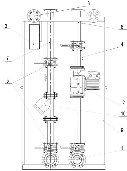
  • Збірно-розподільчі труби (1) розташовані в нижній частині модуля і служать поєднувальним елементом котельної установки. По ним проходить гаряча вода для нагріву і холодна вода, що вертається із системи.
  • Циферблатні покажчики температури (4) показують температуру води, що подається і вертається.
  • Метеликові клапани (5) призначені для роз'єднання насосу і фільтру і для перекриття гілок води, що вертається, і води, що подається.
  • До фланця патрубка подаючого трубопроводу води нагріву (6) повинен бути підключений трубопровід подавання опалювальної системи.
  • До зворотнього патрубка(7) підключаються зворотній трубопровід опалювальної системи.
  • Газовий трубопровід (8) забезпечує проходження газу через модуль і служить поєднувальним елементом котельні.
  • Двері (9) надають модулю декоративний вигляд, і забезпечують можливість легкого доступу до елементів модуля.
  • Шафа електрична (3) містить пристрої, які забезпечують роботу електричної частини модуля. Модуль отримує електроживлення від центральної шафи головного розподільчого щитка електроуправління. Зняття і подавання напруги здійснюється за допомогою свого власного вимикача.
  • Фільтр (10) здійснює очищення води.