Фільтри газові
Фільтри газові
призначені для очищення природного газу по ГОСТ 5542-87
від механічних забруднень (пилу, іржі та інших твердих частинок).
Устрій
Пропонуються різні конструктивні виконання фільтрів в залежності від напрямку руху газу: прямі, кутові, вертикальні, горизонтальні.
В комплект поставки можуть включатися відповідні фланці, індикатор перепаду тиску або манометри з комплектом трубок для їхнього підключення.
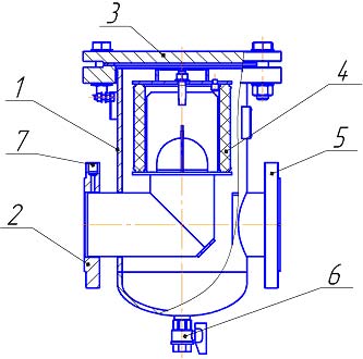
![]() | 1 – корпус
2 – фланець вихідний 3 – кришка верхня 4 – фільтруючий елемент 5 – фланець вхідний 6 – кран для зливу конденсату 7 – отвір різьбовий для під’єднання манометра |
Принцип дії
Газ надходить до фільтра через вхідний фланець 5 та потрапляє у корпус фільтра на зовнішню поверхню фільтруючого елемента 4.
Пройшовши через фільтроелемент, очищений газ потрапляє у його внутрішню порожнину, звідки виходить через вихідний фланець 2.
В нижній частині корпуса розташований кульовий кран 6 для зливу конденсату.
Верхня частина корпуса забезпечена зйомною кришкою 3 з ущільненням.
Для очищення фільтроелемента або для його заміни слід зняти кришку 3, відкрутивши відповідні болтові з’єднання.
Для контролю забрудненості фільтроелемента рекомендується встановити в різьбові отвори на вході і виході фільтра індикатор перепаду тиску.
Комплектність
2.1 Фільтр – 1 шт.
2.2 Паспорт та керівництво з експлуатації – 1 екз.
2.3 Упаковка – 1 к-т
2.4 Відповідні фланці – 2 шт.
* 2.5 Ущільнення під відповідні фланці – 2 шт.
* 2.6 Індикатор перепаду тиску с паспортом – 1 шт.
* 2.7 Комплект трубок для під’єднання індикатора перепаду тиску – 1 к-т
* 2.8 Запасний фільтруючий елемент – 1 шт.
* 2.9 Паспорт на фільтроелемент
ПРИМІТКА *) – включаються в комплект на замовлення за окрему плату
Пропонуються різні конструктивні виконання фільтрів в залежності від напрямку руху газу: прямі, кутові, вертикальні, горизонтальні.
В комплект поставки можуть включатися відповідні фланці, індикатор перепаду тиску або манометри з комплектом трубок для їхнього підключення.
Технічні характеристики
|
Найменування параметру |
Одиниця виміру |
Значення |
|
Робоче середовище |
- |
Природній газ по ГОСТ 5542 |
|
Умовний прохід |
мм |
32, 40, 50, 65, 80, 100, 125, 150, 200, 250 |
|
Робочий тиск, до |
МПа |
1,2 |
|
Пробний тиск: - при випробуванні на міцність - при випробуванні на герметичність |
МПа |
1,5 1,2 |
|
Ступінь очистки |
мкм |
50 |
|
Ефективність очистки |
% |
99,8 |






